TX3351-GP/AP-表壓/絕壓變送器用于測量液體、氣體或蒸汽的液位、密度、壓力,然后將其轉變成4~20mADC HART電流信號輸出。TX3351-GP/ AP也可與RST375手持終端或RSM100 Modem 相互通信,通過它們進行參數設定、過程監控等。
標準規格
(以標準零點為基準調校量程,不銹鋼 316L膜片,填充液為硅油)
1性能規格
調量程的參考精度
(包括從零點開始的線性、回差和重復性)± 0.075%,若TD>10 (TD=調節量程),則為:±(0.0075×TD)%
環境溫度影響
| 量程代碼 | -20℃~65℃總影響量 |
| B/L | ±(0.30×TD+0.20)%×Span |
| 其它 | ±(0.20×TD+0.10)%×Span |
| 量程代碼 | -40℃~-20℃和65℃~85℃總影響量 |
| B/L | ±(0.30×TD+0.20)%×Span |
| 其它 | ±(0.20×TD+0.10)%×Span |
過范圍影響:±0.075%×Span
長期穩定性
| 量程代碼 | 影響量 |
| B/L | ±0.2%×Span/1年 |
| 其它 | ±0.1%×Span/1年 |
電源影響
±0.001% /10V (12~42V DC),可忽略不計
2功能規格
量程和范圍(TX3351-GP-表壓)
| 量程/范圍 | kPa | bar | |
| B | 量程 | 0.6~6 | 6~60mbar |
| 范圍 | -6~6 | -60~60mbar | |
| C | 量程 | 2~40 | 0.02~0.4 |
| 范圍 | -40~40 | -0.4~0.4 | |
| D | 量程 | 2.5~250 | 0.025~2.5 |
| 范圍 | -100~250 | -1~2.5 | |
| F | 量程 | 30~3000 | 0.3~30 |
| 范圍 | -100~3000 | -1~30 | |
| G | 量程 | 0.1~10MPa | 1~100 |
| 范圍 | -0.1~10MPa | -1~100 | |
| H | 量程 | 0.21~21 MPa | 2.1~210 |
| 范圍 | -0.1~21 MPa | -1~210 | |
| I | 量程 | 0.4~40 MPa | 4~400 |
| 范圍 | -0.1~40 MPa | -1~400 | |
| J | 量程 | 0.6~60 MPa | 6~600 |
| 范圍 | -0.1~60 MPa | -1~600 | |
量程和范圍(TX3351-AP-絕壓)
| 量程/范圍 | kPa | bar | |
| L | 量程 | 2~40 | 0.02~0.4 |
| 范圍 | 0~40 | 0~0.4 | |
| M | 量程 | 2.5~250 | 0.025~2.5 |
| 范圍 | 0~250 | 0~2.5 | |
| O | 量程 | 30~3000 | 0.3~30 |
| 范圍 | 0~3000 | 0~30 | |
量程限
在量程的上下限范圍內,可以任意調整。建議選擇量程比盡可能低的量程代碼,以優化性能特征。
零點設置
零點和量程可以調節到表中測量范圍內的任何值,只要:標定量程≥小量程
安裝位置影響
與膜片面平行方向的安裝位置變化不會造成零漂影響,若安裝位置與膜片面超過90°的變化,量程C有<0.25kPa范圍內的零位漂移,其它量程有<0.15kPa范圍內的零位影響,均可以通過調節調零校正。無量程影響。
輸出
2線制,4~20mADC,可選HART輸出數字通訊,可選擇線性或平方根輸出。
輸出信號:Imin=3.9mA,Imax=20.5mA
報警電流
低報模式(*小):3.7 mA
高報模式(*大):21 mA
不報模式(保持):保持故障前的有效電流值
報警電流標準設置:高報模式
響應時間
放大器部件阻尼常數為0.1s;傳感器時間常數為0.1~1.6s,取決于量程及量程比。附加的可調時間常數為:0.1~60s。
預熱時間: < 15s
環境溫度
-40~85℃ 帶液晶顯示、氟橡膠密封圈時 -20~65℃
儲存溫度/運輸溫度
-50~85℃ 帶液晶顯示時:-40~85℃
壓力極限
從真空至量程。
過載極限:
| 量程 |
6kPa (B) |
40kPa (C/L) |
250kPa (D/M) |
3MPa (F/O) |
| 過載極限 | 0.2MPa | 1MPa | 4MPa | 16MPa |
| 量程 |
10MPa (G) |
21MPa (H) |
40MPa (I) |
60MPa (K) |
| 過載極限 | 20MPa | 50MPa | 50MPa | 70MPa |
電磁兼容性(EMC)
見下頁《電磁兼容性附表》
3安裝
電源及負載條件
電源電壓為24V,R≤(Us-12V)/Imax kΩ
其中 Imax=23 mA
電源電壓:42VDC
電源電壓:12VDC,15VDC(背光液晶顯示)
數字通訊負載范圍: 230~600Ω
電氣連接
M20X1.5電纜密封扣,接線端子適用于0.5~2.5mm2的導線。
過程連接
標準過程連接:NPT 1/2內螺紋,可轉成NPT 1/2、G1/2以及M20x1.5的外螺紋、KF16真空接口。
4物理規格
材質
膜片:不銹鋼 316L、哈氏合金C
過程連接:不銹鋼 316L
填充液:硅油
變送器外殼:鋁合金材質,外表噴涂環氧樹脂
外殼密封圈:丁腈橡膠(NBR)
銘牌: 不銹鋼 304
重量
1.6kg(無:液晶顯示、安裝支架、過程連接)
外殼防護等級
IP67
電磁兼容性附表
| 序號 | 測試項目 | 基本標準 | 測試條件 | 性能等級 |
| 1 | 輻射干擾(外殼) | GB/T 9254-2008表5 | 30MHz~1000MHz | 合格 |
| 2 |
傳導干擾 (直流電源端口) | GB/T 9254-2008表1 | 0.15MHz~30MHz | 合格 |
| 3 | 靜電放電(ESD)抗擾度 | GB/T 17626.2-2006 |
4kV(觸點) 8kV(空氣) | B |
| 4 | 射頻電磁場抗擾度 | GB/T 17626.3-2006 | 10V/m (80MHz~1GHz) | A |
| 5 | 工頻磁場抗擾度 | GB/T 17626.8-2006 | 30A/m | A |
| 6 | 電快速瞬變脈沖群抗擾度 | GB/T 17626.4-2008 | 2kV(5/50ns,5kHz) | B |
| 7 | 浪涌抗擾度 | GB/T 17626.5-2008 |
1kV(線線之間) 2kV(線地之間)(1.2us/50us) | B |
| 8 | 射頻場感應的傳導干擾抗擾度 | GB/T 17626.6-2008 | 3V (150KHz~80MHz) | A |
注:(1)A性能等級說明:測試時,在技術規范極限內性能正常。
(2)B性能等級說明:測試時,功能或性能暫時降低或喪失,但能自行恢復,實際運行狀況、存儲及其數據不改變。
外形尺寸 單位(mm)
水平配管連接方式(側面) 水平配管連接方式(正面)

墻裝連接方式 垂直配管連接方式

5 電氣連接圖

注:快捷接口功能等同于信號端子。
6 過程連接說明(代碼1)
6.1 標準形式(代碼1)
D/M/F/G/H/I/K/O量程接口圖 B/C/L量程接口圖

6.2 衍生接口形式
1/2英寸NPT 外螺紋(代碼2) M20x1.5 外螺紋(代碼3)

G1/2 外螺紋(代碼4) 真空接口 DIN 28403 KF16 / ISO 2861(代碼5)

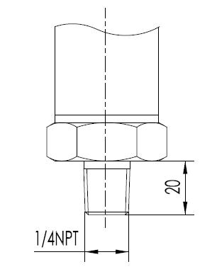
1/4英寸NPT外螺紋(代碼6)
7型號和規格代碼表
| 表壓變送器散件選型 TX3351-GP- | |||||||||||||||||||||||
| 絕壓變送器散件選型 TX3351-AP- | |||||||||||||||||||||||
| 10 | 輸出 | ||||||||||||||||||||||
| B | 基本誤差±0.075% 4-20mA帶HART通訊 | ||||||||||||||||||||||
| 20 | 量程 | ||||||||||||||||||||||
| 表壓TX3351-GP | |||||||||||||||||||||||
| B | 0-0.6kPa~6kPa /(0-60~600 mmH2O)/(0-6~60mbar) | ||||||||||||||||||||||
| C | 0-2kPa~40kPa /(0-200~4000 mmH2O)/(0-20~400mbar) | ||||||||||||||||||||||
| D | 0-2.5kPa~250kPa /(0-0.25~25 mH2O)/(0-25~2500mbar) | ||||||||||||||||||||||
| F | 0-30kPa~3MPa /(0-3~300 mH2O)/(0-0.3~30bar) | ||||||||||||||||||||||
| G | 0-0.1MPa~10MPa /(0-1~100bar) | ||||||||||||||||||||||
| H | 0-0.21MPa~21MPa /(0-2.1~210 bar) | ||||||||||||||||||||||
| I | 0-0.4MPa~40MPa /(0-4~400 bar) | ||||||||||||||||||||||
| J | 0-0.6MPa~60MPa /(0-6~600 bar) | ||||||||||||||||||||||
| 絕壓TX3351-AP | |||||||||||||||||||||||
| L | 0-10kPa~40kPa /(0-1000~4000 mmH2O)/(0-10~400mbar) | ||||||||||||||||||||||
| M | 0-10kPa~250kPa /(0-100~2500mbar) | ||||||||||||||||||||||
| O | 0-30kPa~3MPa /(0-0.3~30bar) | ||||||||||||||||||||||
| 30 | 膜片材質 填充液 | ||||||||||||||||||||||
| A | 不銹鋼 316L | 硅油 | |||||||||||||||||||||
| B | 不銹鋼 316L | 氟油 | |||||||||||||||||||||
| C | 哈氏合金C | 硅油 | |||||||||||||||||||||
| D | 哈氏合金C | 氟油 | |||||||||||||||||||||
| E | 不銹鋼 316L 鍍金 | 硅油 | |||||||||||||||||||||
| 40 | 過程連接 | ||||||||||||||||||||||
| 1 | 1/2英寸NPT 內螺紋 | ||||||||||||||||||||||
| 2 | 1/2英寸NPT 外螺紋(內含1/4英寸NPT) | ||||||||||||||||||||||
| 3 | M20x1.5 外螺紋(14x2焊管接頭) | ||||||||||||||||||||||
| 4 | G 1/2 外螺紋 | ||||||||||||||||||||||
| 5 | 真空接口 DIN 28403 KF16 / ISO 2861 | ||||||||||||||||||||||
| 6 | 1/4英寸NPT 外螺紋 | ||||||||||||||||||||||
| 50 | 特殊功能 | ||||||||||||||||||||||
| N | 無 | ||||||||||||||||||||||
| P | 防雷擊功能 | ||||||||||||||||||||||
| O | 禁油處理(氧氣測量限氟油填充液、氟橡膠密封圈、<6MPa、<60℃) | ||||||||||||||||||||||
| 60 | 安裝支架 | ||||||||||||||||||||||
| N | 無 | ||||||||||||||||||||||
| 1 | 不銹鋼 | ||||||||||||||||||||||
| 2 | 碳鋼鍍鋅 | ||||||||||||||||||||||
| 70 | 液晶顯示 | ||||||||||||||||||||||
| 0 | 無 | ||||||||||||||||||||||
| 2 | LED背光液晶顯示(-20℃) | ||||||||||||||||||||||
| 3 | OLED顯示(-40℃) | ||||||||||||||||||||||
| 80 | 防爆選項 | ||||||||||||||||||||||
| N | 基本型 | ||||||||||||||||||||||
| A | 本安型,NEPSI | ||||||||||||||||||||||
| D | 隔爆型,NEPSI (不含隔爆電纜接頭) | ||||||||||||||||||||||
| 90 | 位號標牌 | ||||||||||||||||||||||
| N | 無 | ||||||||||||||||||||||
| 1 | 位號標于銘牌內 | ||||||||||||||||||||||
| 2 | 懸掛式不銹鋼標牌 | ||||||||||||||||||||||
| 100 | 使用說明 | ||||||||||||||||||||||
| C | 中文 | ||||||||||||||||||||||
| E | 英文 | ||||||||||||||||||||||
| 110 | 附加選項 | ||||||||||||||||||||||
| S | 不銹鋼表殼 | ||||||||||||||||||||||
| V | 低電壓版 | ||||||||||||||||||||||
注1:TX3351-GP對應選表壓量程代碼,TX3351-AP對應選絕壓量程代碼;
注2:真空接口 DIN 28403 KF16 / ISO 2861,僅適用小于2.5bar以內的量程。
Copyright 常州天利智能控制股份有限公司 版權所有 蘇ICP備12002763號-10
全國服務電話:0519-85225861-856 ? 傳真:0519-85281591
公司地址:江蘇省常州市新北區孟河鎮郭河工業園